Installing devices - 4.3 Router
|
Part Number |
Description |
|
(2094-16010) |
38 port Router |
The lab2lab Router is specifically designed to be wall mounted. The lowest part of the Router must be mounted between 1300 - 1500mm from floor level. The transport pipes exit in a circular pattern from the top and are routed into the ceiling space for distribution to the other devices.
Services are connected to the bottom of the Router. Access to the front is required for routine maintenance and to remove the waste bin for disposal.

Note: 32 port Routers are no longer supplied.
The peak sound pressure at the Router does not exceed 80dB(A) when sending a vial but does exceed 70dB(A), Consequently SPT Labtech advises locating the Router so that staff are not routinely exposed to this level of noise.
Strategies for minimizing exposure to noise include:
- locating the Router close to an analytical instrument cluster which is routinely unmanned
- locating the Router within a soundproofed cupboard
- modifying the standard Router installation to duct away the exhaust from the vacuum generator, as this is the major cause of noise. Contact SPT Labtech if you want this option for your Router.
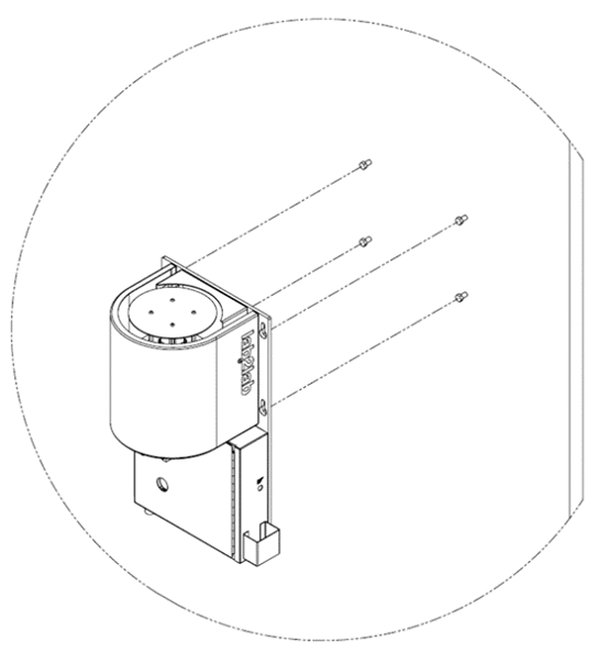
Fix 4 off M12 steel masonry anchors with 20mm exposed thread from wall.

Additional wall fixings may be required for an enclosure (modesty panel) used for hiding the PFTE pipes to the ceiling void. You must ensure suitable anchorage points are available for any additional fasteners required for this purpose. This enclosure is optional; you will need to request it if you want it installed on your system.
You must ensure the four bolts have been pre-mounted to the wall in the agreed location before installation of the Router.
SPT Labtech will fit the Router to the provided bolts and secure during installation.

Installing devices - 4.4 Building2building Transceiver >>>